2026西湖龙井茶官网DTC发售:茶农直供,政府溯源防伪到农户家





前有一大批“谷爱凌”、“全红婵”、“苏炳添”、“雷神山”、“火神山”、“冰墩墩”、“丁真”、“长津湖”等商标申请被驳回的警示,又有不少申请人被各地市场监管部门约谈或处罚的报道,难道申请人都不看新闻的吗?难道不知道这样申请商标的后果?


以往哪些商标违反这条规定呢?
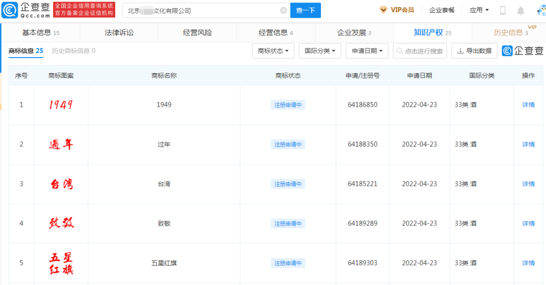
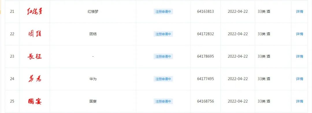
如,某网络公司大量申请注册“长津湖”为商标的行为,明显超出正常经营活动需要,属于不以使用为目的的恶意商标注册申请。
再如,某公司申请大量含行政区划名称简称或地名的标志作为商标的行为,属于不以使用为目的的恶意商标注册申请。
以往的案例,有少数企业、自然人以牟取不当利益为目的,将北京2022年冬奥会和冬残奥会吉祥物、运动健儿姓名等冬奥热词进行恶意抢注,具有重大不良影响。
《商标法》第十条第二款:县级以上行政区划的地名或者公众知晓的外国地名,不得作为商标。
《商标法》第七条:申请注册和使用商标,应当遵循诚实信用原则。
前有某公司和自然人将大量运动赛事名称和相关行业术语作为商标申请注册,超出了正常的使用意图,构成恶意抢注运动赛事名称和相关行业术语情形,不具备商标注册申请的正当性。该类抢注行为扰乱了正常的商标注册管理秩序,并有损于公平竞争的市场秩序,违反了诚实信用原则。
近年来,国家知识产权局加大对恶意商标注册行为的打击力度,先后驳回了一系列恶意注册商标。2021年全年,商标局在商标审查程序中累计打击了恶意注册商标48.2万件。2022年第一季度,商标局在审查程序中驳回恶意囤积商标1.22万件,驳回恶意抢注商标1628件。
从这些数据,我们不难预见,申请上述商标将面临的后果!申请人,快醒醒吧!
声明 | 部分图文内容源自网络,版权归原作者,侵删~